
咨詢電話:0791-88359008
售后電話:0791-88307187
市場監督:0791-88309898
傳真號碼:0791-88310011
咨詢服務QQ:
(江西洗地機廠家)



【揭秘】旭潔洗地機研發新成果曝光
自動洗地機為什么能自動行走,是因為刷盤電機帶動著刷盤旋轉,清洗地面的同時,帶牽引系統的機器會帶動機身往前行進。無牽引結構的洗地機在正常工作狀態下,由于地面摩擦系數的原因,導致在使用時有較大的阻カ感,提高了操作者的疲勞度。旭潔環保一直在牽引結構的改進上銳意進取,不斷鉆研,取得了階段性的勝利。
洗地機刷盤牽引結構,包括刷盤電機及與刷盤電機底座固定連接的刷盤組件,刷盤電機及刷盤組件上套裝有刷盤罩,其特征在于:刷盤組件與刷盤罩之間設置有支架,所述支架穿過刷盤罩與洗地機提升桿鉸接連接;所述支架上還鉸接安裝有電機固定板,所述電機底座與電機固定板固定連接并固定在刷盤組件中心軸上,調節螺栓穿過支架及刷盤罩并頂緊在電機固定板的端面上。
作為本實用新型的改進,所述刷盤罩端面開槽,所述支架兩端設有支耳穿過所述開槽,與所述提升桿鉸接連接;所述電機固定板兩側設有鉸接耳,與支架兩側設置的鉸接座配合,將電機固定板與支架鉸接連接。
所述調節螺栓包括手柄、螺栓和套裝在螺栓上設置于手柄和刷盤罩之間的彈簧。
有益效果是:本實用新型在使用過程中,當調節螺栓向下運動吋,電機固定板受カ繞鉸接軸轉動,產生偏擺,也帶動刷盤組件向一側偏擺,從而増大了刷盤毛單側對地面的壓力,進而在刷盤旋轉過程中形成了一定的牽引力,使刷盤轉動更加輕松,減輕了操作者的疲勞強度;同時,可根據地面條件的不同,對調節螺栓的旋入程度進行調整,即調整對電機固定板的壓カ大小,從而改變刷盤毛單側對地面的壓力,以實現不同地面條件下牽引力大小的適度調整。
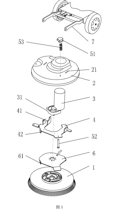
附圖說明
下面結合附圖和實施例對本實用新型進一步說明。

圖1是洗地機整體圖;

圖2是本實用新型拆除刷盤罩的組裝狀態示意圖;

圖3是本實用新型拆分狀態示意圖。
公布是為了拋磚引玉,如果相關洗地機廠家看到,請聯系我們,能互相探討,促進洗地機結構的發展,是件好事。
上一篇:洗地機洗地實拍視頻旭潔X750
下一篇:【曝光】旭潔解決清污水箱連接難題





